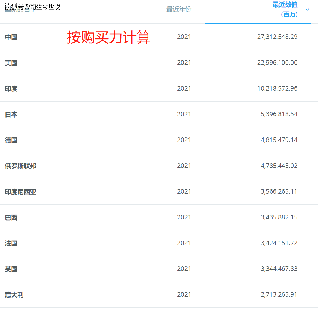
关于日本的购买力,这是一个相对复杂的问题,需要从多个角度进行分析。

日本的购买力受到其经济发展状况、人均收入水平、消费习惯以及汇率等因素的影响,日本是一个高度发达的国家,拥有稳定的经济发展和较高的国民收入,这支持了其较强的购买力,日本的消费习惯也倾向于购买高质量的产品,这进一步推动了其购买力,至于汇率,日元是一种重要的全球货币,其汇率波动也会对日本的购买力产生影响。
要获取最准确和最新的关于日本购买力的数据,需要参考专业的经济研究报告、政府统计数据或国际经济组织的报告,这些资源可以提供关于日本经济、汇率、消费等多个方面的最新信息,从而更全面地反映日本的购买力。

分析仅供参考,具体的购买力可能因时间、地点和其他因素的变化而变化,如果需要更详细和准确的信息,请查阅最新的资源和数据。
TIME
